聯系我們
座機:027-87580888
手機:18971233215
傳真:027-87580883
郵箱:didareneng@163.com
地址: 武漢市洪山區魯磨路388號中國地質大學校內(武漢)
水文地質水文水井沖擊回轉反循環鉆進技術
文章來源:地大熱能 發布作者: 發表時間:2021-11-03 13:26:53瀏覽次數:2333
基巖水井通常口徑為Φ160~Φ280mm之間,該口徑硬巖的鉆進效率低,成本高,施工周期長,成為鉆探界亟待解決的難題。20世紀70年代開始,我國已引進潛孔錘技術應用于水井鉆鑿,鉆進效率數倍提高,展示了潛孔錘鉆進的良好前景。但水井工程,孔深大,背壓高,配套使用的空壓機不但風量要求大,風太也高,使鉆進成本大幅度增高。主要矛盾是滿足排渣屑上返風速的要求時,供風量巨大,遠超過了潛孔錘本身工作的需求。計算不同孔徑條件下滿足上返風速15m/s供風量的需求,見表1(Φ89鉆桿為例)。表1數據表明,孔徑越大,為滿足排渣屑要求而消耗的能量越大,經濟性越差。若實施反循環鉆井技術工藝,則排渣屑所需風量大大減小,如表2所示。
2 水文水井沖擊回轉反循環鉆進技術的原理和特點
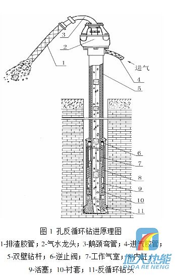
貫通式氣動潛孔錘反循環連續取心(樣)鉆進原理如圖1所示。壓縮空氣由進氣膠管4進入氣水龍頭2的進氣管,經主動鉆桿和雙壁5的內外管環空到達貫通式沖擊器的逆止閥6,驅動沖擊器活塞9產生高頻沖擊。鉆具仍由鉆機帶動回轉,使鉆頭在沖擊和回轉的共同作用下破碎巖石,取心鉆頭11在孔底形成環狀破碎。沖擊器工作壓氣由鉆頭底噴排氣孔噴出,吹洗孔底巖屑和冷卻鉆頭,再由鉆頭唇部導流作用將氣流引入鉆頭中心,然后通過雙壁鉆桿中心通道,攜帶巖心(樣),輸送到氣水龍頭2的中心孔。經鵝頸管3,排樣管1排出,進入巖心(樣)收集器。
這種鉆進方法的特點主要是利用潛孔錘碎巖,效率高;反循環系統沖洗介質上返流速高,攜帶巖心(樣)能力強;使用雙壁鉆桿既輸送壓縮空氣又有護壁作用。也就是有效的把破巖鉆進和提起巖心(樣)這兩項原來分隔的工作,形成了連續作業系統,成為邊鉆井、邊洗井、邊取心(樣)三者同時進行的鉆探方法。
3 水文水井沖擊回轉反循環鉆進
技術應用實例
3.1 概況
GQ-200/62型貫通式潛孔錘在河南省地礦 廳水文一隊進行試驗。試驗分二個階段:反循環形成研究階段和生產性試驗階段。在6-8級灰巖、白云質灰燧石灰巖、致密灰巖,采用FT-200、250型反循環鉆頭及SHB-127/87雙壁鉆桿實行反循環連續取心(樣)鉆進374m。呈短圓餅狀,長度20-35mm;取樣率100%。與潛孔錘正循環相比,平均機械鉆速提高64%;臺月效率提高3.8倍;每米成本降低30%-40%。其中一個鉆頭在一個鉆孔中反循環連續取心104.5米,平均時效4.05m/h,最高時效9.6m/h,水下鉆進45m時鉆頭磨損較輕微。
目前氣動潛孔錘鉆進主要是不取心鉆進,采用單壁鉆桿正循環排屑。河南水文一隊使用氣動潛孔錘鉆鑿基巖水井,取得較為成功的經驗。但豫北地區基巖水井一般要求深度及其孔徑較大,其鉆進施工方法是:用JG-150潛孔錘一徑到底,再用J-250型沖擊器擴孔,即“小徑打,大徑擴”。這種施工方法不僅麻煩,成井時間長,擴孔時耗風量大,排巖屑及其困難,有時需采用專門排屑措施,因而出現潛孔錘鉆進機械鉆速雖高,而臺月效率卻提高的不多。此外,在卵礫石地層或復雜的破碎、漏失地層,空氣潛孔錘仍難以鉆進,表現出孔壁坍塌,孔口不返風,不排屑,極易導致埋鉆、卡鉆等事故的發生。采用貫通式式潛孔錘實施反循環鉆進工藝,可從根本上解決這些難題。
3.2配套設備及器具
鉆機:SPC-300H型黃河鉆一臺;空壓機:W-10/60型一臺或LGYII-10/7二臺;雙壁鉆桿:SHB-127/87或SHB-114/70;貯氣罐:0.2-1.0m3一臺;沖擊器:GQ-200型二套;鉆頭:直徑Φ200、Φ250mm各2個。 試驗分別采用高、低壓兩種壓風機單獨進行,即淺孔或干孔段用低壓空壓機;深孔或水下鉆進用W-10/60空壓機,試驗場地的設備分布、管線連接等見圖2。
3.3鉆進技術參數選擇在空壓機、沖擊器和鉆頭性能及質量保證的前提下,要想提高反循環連續取心(樣)鉆進效果,還應做到合理操作,選用合適的鉆進技術參數。
(1)風量和風壓 供風量除滿足GQ-200型貫通式氣動潛孔錘的工作參數外,還應符合反循環中心通道空氣上返速度攜帶巖心(樣)的要求。一般取樣鉆進,供風量6-8m3/min即可;而取心鉆進可適當地增大供風量(8-10m3/min),這樣中心通道上返風速可達20-40m/s。風壓隨鉆孔深度,孔內水柱高度的變化而變化,一般為0.45-2.20MPa。
(2)鉆壓 選用8-12KN。
(3)轉速 最優轉速為20-25r/min。還應說明一點,實施貫通式潛孔錘反循環連續取心(樣)鉆進工藝,偶然也產生短暫的巖心卡堵現象,表現在排屑管突然停止排屑。分析其原因,一是此種工藝方法的巖心與巖屑上返速度不一致;二是使用的雙壁鉆具結構不合理,內管接頭插接方向倒置。壓氣沿其內外管間隙送入,遇內管母接頭端面阻擋,局部渦流及增加壓力降,巖心(樣)反循環時,又遇內管公接頭端面阻擋,端面處產生渦狀環流,使局部流體參量改變,巖心(樣)易于堵塞,產生卡堵。 一般情況下,隔幾秒或幾十秒后,排屑管突然大量排屑,表明由于沖擊器高頻沖擊震動自動解卡。應立即停止進尺,即停止鉆具回轉,只沖擊,不再產生新的巖心(樣),依靠沖擊器原位震動,都能順利解除卡堵。
3.4 試驗效果
貫通式潛孔錘與雙壁鉆桿實行反循環連續取心(樣)鉆進,主要是利用潛孔錘破巖效率高;反循環系統洗井介質上返流速高,攜帶能力強,可及時排除巖屑或巖心;用雙壁鉆桿輸送壓縮空氣和護壁,能有效地使碎巖鉆進、提取巖心(樣)和洗井護壁三者形成同時作業的鉆探系統,這種鉆進方法具有以下優點。
3.4.1水文地質鉆探中的優點
(1) 能量大限度地減少提鉆取心(樣)作業時間,大幅度提高純鉆進時間;
(2) 地質效果好,不公能有效地提高巖礦層的采取率,而且無污染、無分選、取心(樣) 及時,代表性好、品質高;
(3) 有利于解決破碎和不穩定地層的孔壁坍塌、漏氣、孔口不排屑等給鉆進工作帶來的難題。
3.4.2 大口徑水井鉆中的優點
(1) 潛孔錘及雙壁鉆桿的中空斷面作為反循環通道,因斷面積小且直徑不變,在有限空 壓機供風量條件下,可增大上返風速,提高排渣能力,避免孔底重復破碎,從而提高鉆進效率及增大孔深和孔徑;同時也不用經常提拉鉆具吹孔,保持了鉆進的連續性;
(3) 貫通式潛孔錘反循環鉆進,反循環排屑管可放在隨意位置,避免了干孔段粉塵揚及 水下鉆進井噴的污染,改善了孔口工人的工作條件;
上一篇 > 地下水的基本分類有哪些?
下一篇 > 水文水井鉆探工藝及設備發展情況












